摘要:零售承压,地产“埋雷”(欢迎关注杠杆游戏)

撰文|杆姐&编辑|爱丽丝
当“平安”二字与其承载的稳健期望渐行渐远,市场的目光便充满了审视与疑虑。
2025年10月24日,平安银行发布了一份继续带有寒意的第三季度财报:营收与净利润双双下滑。
且这并非孤立的季度性波动,纵观前三季度,平安银行每个季度都在“双跌”,整体营收同比下降9.8%,净利润同比下降3.5%。

平安银行,究竟啥时候才能支棱起来?
在杠杆游戏看来,平安银行2025年三季报整体稳健,但核心矛盾突出。
先说营运情况。2025年前9月,平安银行营业收入1006.68亿元,同比下滑9.8%、归母净利润383.39亿元,同比下滑3.5%。
三季度单季来看,平安银行营收312.83 亿元,同比下滑9.2%、净利润134.69亿元,同比 下滑2.8%,下滑幅度未收窄。
净息差收窄成为拖累业绩的首要因素。2025年1—9月,该行净息差为1.79%,较去年同期下降14个基点。
资产端,平安银行三季报里前三季度的贷款收益率全面下行。发放贷款和垫款平均收益率从去年同期的4.70%降至3.97%,下滑73个基点。

其中,个人贷款收益率从5.78%降至4.93%,对公贷款收益率从3.64%降至3.10%。这种普遍性的收益率下滑,既受到LPR多次下调的政策影响,也反映出实体经济融资需求不足的深层次问题。
平安银行曾经引以为傲的零售业务,如今似乎正成为拖累业绩的主要因素。
截至9月末,该行个人贷款余额17,291.92亿元,较上年末下降2.1%。细分来看,除住房按揭贷款增长8.1%外,信用卡应收账款下降7.9%,消费性贷款下降3.0%,经营性贷款下降3.0%。
这种结构性变化反映出平安银行零售战略的内在矛盾。一方面,该行试图维持高收益的消费信贷业务规模;另一方面,在风险上升和需求放缓的双重压力下,又不得不收缩相关业务。有点进退维谷。
零售业务的疲软不仅影响当期业绩,更对平安银行的长期估值逻辑构成挑战。如果“零售银行”的故事难以为继,市场将如何重新评估这家银行的投资价值?
值得一提的是,平安银行的利润下滑幅度要小于营收,财报里杠杆游戏看到,管理层将此归因于降本增效。比如期内业务及管理费同比降9.6%、信用及其他资产减值损失同比降18.8%。
2、
再看资产质量。截至9月末,平安银行不良贷款率1.05%,较上年末微降0.01个百分点,保持稳健趋势。
深入分析资产质量结构,杠杆游戏认为还有几个风险点值得高度关注。

首先是对公房地产贷款风险持续暴露。截至9月末,平安银行对公房地产贷款不良率升至2.20%,较上年末上升0.41个百分点。直接导致其企业贷款不良率大幅上升,从2024年末的0.70%升至0.86%。
尽管平安银行强调“风险可控”,但其房地产相关业务余额仍有2,662.34亿元,在当前房地产市场调整远未结束的背景下,相关风险的释放可能还未结束。
其次,个人贷款的风险特征发生变化。虽然期内平安银行该业务整体不良率下降至1.24%,但信用卡贷款不良率仍高达2.25%。

此外,平安银行的拨备覆盖率从上年末的250.71%降至229.60%,虽然仍高于监管要求,但下降趋势反映出风险抵补能力的减弱。
3、
如果说业绩下滑是平安银行面临的“面子”问题,那么监管罚单则是其“里子”问题。
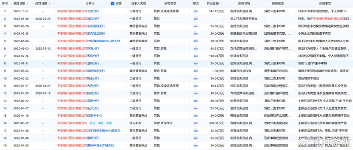
前不久的10月17日,平安银行北京分行才刚收到一笔544.12万元的罚单。原因是“以不正当手段发放贷款,个人贷款‘三查’不到位,个人经营性贷款业务内控管理存在缺陷”。

根据企业预警通披露杠杆游戏看到,2025年以来,平安银行的合规警报频频拉响,其中信贷业务就是重灾区。
比如1月8日,平安银行惠州分行及下辖支行因“贷款业务严重违反审慎经营规则”合计被罚95万元;
同在1月,其汽车消费金融中心威海分中心也因信贷业务违规被罚35万元;
3月12日,总行层面因“并购贷款管理严重违反审慎经营规则”“固定资产贷款管理严重违反审慎经营规则”等问题,被国家金融监督管理总局上海监管局处以300万元罚款;
5月22日,鞍山分行因“贷后管理不到位”被罚30万元;
8月,新乡分中心再次因信贷业务违规被罚50万元。

除了传统信贷,平安银行财富管理、内部治理等领域同样有问题。
比如3月12日的300万元罚单中,违规缘由还包括“理财业务投资管理严重违反审慎经营规则”这一项;
4月10日,平安银行信用卡中心因“销售系统管理不到位”被罚30万元;
8月15日,珠海分行因“支付结算业务违规、内控制度不健全”被罚款超过88万元……
在杠杆游戏看来,平安银行面临的挑战,在很大程度上是整个银行业的缩影。数字的背后,是战略的迷茫、增长的焦虑和转型的阵痛。
银行业的发展从来不是线性的,当前的困境也许正是行业进化的必经阶段。对于平安银行而言,如何在深刻的行业变革中,找到属于自己的位置至关重要。这需要勇气摒弃过去的路径依赖,更需要智慧构建面向未来的核心竞争力。
本文未标注出处的图表,均源自企业或权威媒体公开披露,特此说明并致谢
版权及免责声明:本文系杠杆游戏创作,未经授权,禁止转载!如需转载,请获取授权。另,授权转载时还请在文初注明出处和作者,谢谢!杠杆游戏任何文章之观点,皆为学习交流探讨用,非投资建议。用户据此进行的一切投资,请自负责任。文章如有疏漏、错误欢迎批评指正。
4001102288 欢迎批评指正
All Rights Reserved 新浪公司 版权所有
