证券之星 赵子祥
曾经在信托行业风光无限的五矿国际信托有限公司(下称“五矿信托”),如今正面临着严峻的挑战。据五矿资本2024年年报预告披露,旗下五矿信托2024年净利润巨亏9.55亿元,这是其自2010年设立开业以来首次出现亏损。
证券之星注意到,不仅如此,五矿信托受托管理的多个信托项目,如“恒信国兴636号-昆明基投集合资金信托计划”等相继逾期。与此同时,五矿信托深陷与多家地产公司的金融纠纷,涉诉众多。曾经的行业佼佼者,如今业绩亏损、项目逾期、涉诉缠身,五矿信托究竟怎么了?
去年业绩暴跌,首次陷入亏损泥潭
五矿信托作为中国五矿集团有限公司旗下的专业信托机构,长期以来在行业中占据重要地位。然而,2024年的财务数据却令人大跌眼镜。
证券之星注意到,五矿资本披露年报显示,截至报告期末,五矿信托管理存续信托规模6885.43亿元,其中资本市场业务为主的投资类业务5357.45亿元,规模占比77.81%。总资产3,439,370.04 万元,净资产2,268,947.46 万元,报告期内实现营业总收入18.62亿元,较2023年的28.79亿元大幅缩水,净利润-9.5亿元。

从营收构成来看,手续费及佣金收入为18.26亿元,利息净收入为-4.42亿元,投资收益为-3.39亿元,公允价值变动收益为-13.72亿元。净利润更是从2023年的11.9亿元变为-9.55亿元。据公开数据,这是自五矿信托设立开业以来首次出现亏损。
五矿资本此前在业绩预减原因说明中提到,信托业务处于转型进程,业务结构的调整致使手续费及佣金收入出现下滑;公司旗下子公司所持有的、按公允价值计量且其变动计入当期损益的金融资产,在本年度内公允价值有所降低;下属子公司获取的政府补助较上一年度有所减少。
然而,深入分析会发现,五矿信托业绩暴跌背后或许还有更深层次的原因。近年来,信托行业整体面临转型压力,监管趋严,传统业务受限。五矿信托在业务转型过程中,可能未能及时有效地调整业务布局,导致收入来源受到较大冲击。
信托项目逾期频发,影响投资者信心
证券之星注意到,在2024年年内,一则关于五矿信托的消息曾引起了市场的广泛关注:五矿信托受托管理的“恒信国兴636号-昆明基投集合资金信托计划”“恒信国兴657号-赢胜51号集合资金信托计划”及“五矿信托-恒信国兴659号-新都1号集合资金信托计划”出现逾期兑付情况。
据了解,这三个产品均为政信类项目,融资方及担保方为云南省昆明市各类城投公司。以“恒信国兴657号”为例,该信托计划2022年5月27日成立,存续规模为8580万元,预计存续期限不超过24个月。信托资金用于向昆明城路开发经营有限责任公司发放信托贷款,由昆明产业开发投资有限责任公司、昆明市城建投资开发有限责任公司、昆明新都投资有限公司提供连带责任保证担保。
但根据合同约定,借款人应于2023年10月14日向受托人支付到期本金及利息共计2744.36 万元,然而借款人未履行付款义务,保证人亦未履行相应的连带保证责任。
不仅如此,信托项目逾期频发也反映出五矿信托在项目风控方面可能存在漏洞。在项目筛选、评估以及后续跟踪管理过程中,未能充分识别和控制风险,导致项目出现问题时无法及时采取有效措施进行应对。这不仅损害了投资者利益,也对五矿信托自身的品牌形象造成了严重负面影响。
值得一提的是,截至2024年末,五矿信托其他应收账款主要欠款人中,有两家单位欠款金额超过1亿元,千万级的欠款单位也较上一年有所增加,而拖欠原因主要是应收代垫所管理信托计划费用款项和应收押金、保证金、备用金等。

深陷金融纠纷,涉诉案件众多
在业绩亏损和项目逾期的同时,五矿信托还深陷与多家地产公司的金融纠纷之中,涉诉案件众多。
从公开信息来看,五矿信托起诉的名单中,包含了阳光城、蓝光、恒大、泰禾等众多全国性房企,虽然有些兑付了,但仍有很多账未结清,且案件类型主要为金融合同借款纠纷。
例如,五矿信托请求判令彭祖文化公司、环融中军公司共同向其支付回购本金20亿元,并要求融创地产承担连带清偿责任。此外,在与恒大地产的纠纷中,五矿信托作为原告,要求相关被告履行合同义务。而在一系列房企爆雷后,五矿信托不仅是原告,也曾作为被告卷入一些案件之中。
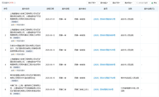
证券之星注意到,天眼查显示,截至目前,五矿信托涉及的司法案件总数量已经达到了超过2000件,其中仅在2023年就有超过1300条案件,2024-2025年数量虽有所下降,但较往年依然显著提升,今年5个月内,就遭遇了近80条司法案件,且多数案件身份为被告。

作为央企系的大型信托公司,五矿信托长期保持着“零违约”形象,但在房地产市场下行、众多房企资金链断裂的背景下,五矿信托也难以独善其身。大量涉诉案件不仅耗费了五矿信托的人力、物力和财力,还使得其精力分散,无法集中于业务发展和转型。同时,涉诉案件的增多也引发了市场对其资产质量和风险管理能力的质疑,进一步加剧了其面临的困境。
五矿信托当前面临的业绩亏损、信托项目逾期和涉诉众多等问题,并非孤立存在,而是信托行业在转型过程中面临诸多挑战的一个缩影。信托行业在经历了多年的快速发展后,正处于深度调整期。监管政策的变化、市场环境的波动以及自身业务结构的不合理等因素,都对信托公司的经营发展产生了重大影响,而面对眼下多重困境,五矿信托还有很长一段路要走。(本文首发证券之星,作者|赵子祥)
4001102288 欢迎批评指正
All Rights Reserved 新浪公司 版权所有
