流量小生范丞丞近期深陷代言“连环劫”。
先是范丞丞代言的弹动化妆品因宣传海报中“黑脸”造型陷入种族歧视争议。随后该品牌关联方广州如霜化妆品有限公司(以下简称“广州如霜”)又因商标注册问题被质疑打擦边球。(参考文章《范丞丞代言翻车,擦边新西兰“8+minute”“连累”1370名达人》)
更糟的是,如今弹动产品本身也面临消费者关于虚假宣传的质疑,可谓祸不单行。
涉嫌虚假宣传
近日,清扬君接到消费者张先生(化名)投诉称,知名明星代言的弹动洗发水涉嫌虚假宣传。


按照张先生提供的线索,清扬君在抖音平台的弹动官方旗舰店找到了这款弹动鱼子酱氨基酸洗发露6.0产品。该产品在网页宣传“+98.3% 发根蓬松、+85.6% 舒缓干痒、+92.7% 柔顺修护”、“视觉增高+3cm、发根蓬弹+2.1倍”、“香氛疗愈”“疗愈情绪”等内容。

通过药监局查询发现,备案编号为“粤G妆网备字2025022437”的弹动鱼子酱氨基酸洗发露6.0的备案人为嘻道美妆(广州)有限公司,生产企业为广州柏仙奴化妆品有限公司。该产品备案的功效为“滋养、修护、清洁、保湿、控油、护发、防断发、去屑”,并没有“发根蓬松”“舒缓干痒”、“视觉增高”、“发根蓬弹”、“香氛疗愈”、“疗愈情绪”等功效,也未备案相关数据,且该产品网页宣传也没有标注数据出处。因此涉嫌虚假宣传和宣传医疗作用(香氛疗愈、疗愈情绪)。
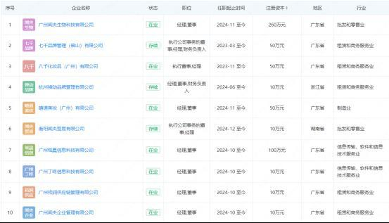
查询发现,抖音平台的弹动官方旗舰的认证企业为青岛艾本生物科技有限公司,该公司是青岛北极光生物科技有限公司的全资子公司,其股东为持股99%的高菊锦和持股1%的罗丽淋。两人此前还是广州如霜持股70%和10%的股东,同时于2023年11月16日退股。

而嘻道美妆(广州)有限公司的股东为广州闻央生物科技有限公司,后者的股东为持股70%的邱超华和持股30%的邱水兴。邱超华此前为广州如霜的监事,2025年5月22日卸任。此外,邱超华还在10多家公司担任董高监或法定代表人,包括杭州弹动品牌管理有限公司。

违规销售8+minutes品牌产品
值得关注的是,清扬君快消品舆情分析中心在调查过程中还发现,抖音平台的弹动官方旗舰销售被指擦边的8+minutes品牌产品,而8+minutes商标此前已被国家商标局认定为无效商标,新西兰正版“8+minute”品牌亦发布声明称从未授权广州如霜使用其品牌。
众所周知,任何品牌的旗舰店都需要品牌授权,但不知为何抖音平台弹动官方旗舰店还能销售8+minutes品牌产品。

在弹动官方旗舰介绍中,这款备案编号为“粤G妆网备字2025008103”的产品名称标识为“人参茶树纯露洗发水4.0”,其页面宣传“控油蓬松 97.5%、舒缓头皮 98.3%、减少断发 92.6%、强韧发根 90.8%”、“视觉增高 50%、发量增多2X”、“9X控油力”;“净澈修护毛囊”“修护烫染损伤”等内容。

查询药监局官网发现,备案编号为“粤G妆网备字2025008103”的产品是“8+minutes人参茶树纯露洗发水4.0”,而非“弹动”品牌。该产品的备案人和生产方分别是嘻道美妆(广州)有限公司和广州柏仙奴化妆品有限公司,和上款产品一样。

以上两款产品的虚假宣传如出一辙。该产品在药监局备案的产品功效为修护、清洁、保湿、芳香、舒缓、控油、护发、防断发、去屑,但并没有上述相关数据,且该产品在网页宣传中也没有标注数据出处,涉嫌虚假宣传。
另外,清扬君快消品舆情分析中心发现,该产品备案的修护功效为“受检样品具有改善发束梳理性和顺滑程度的作用,修护效果良好”,并非其网页宣传“净澈修护毛囊”“修护烫染损伤”等修护效果。
范丞丞躺枪
如果只是网页的虚假宣传就算了,但事实并非如此。

在调查过程中,清扬君快消品舆情分析中心发现,弹动官方旗舰店的直播间背景有“弹动品牌代言人范丞丞”、“范丞丞倾情推荐”等内容,直播间充满了类似字样和海报等宣传,更有“直播间销售额均计入代言人销量”字样。
“直播间销售额均计入代言人销量” 是当前直播电商行业颇具争议的现象。具体来说,只要代言人参与或代言的品牌直播间产生销售,所有销售额都会被计入代言人个人带货数据。这种操作既有助于提升代言人的商业价值,也能强化品牌宣传效果,不过一旦产品质量出现问题,代言人也需承担相应责任。
按照这个逻辑,范丞丞已经等同主播在销售,店铺的虚假宣传范丞丞也脱不了关系,当然也包括弹动官方旗舰店违规销售非授权或无效授权品牌——8+minutes的售假行为。
清扬君在前文《范丞丞代言翻车,擦边新西兰“8+minute”“连累”1370名达人》已经做过阐述:新西兰“8+minute”品牌官方微博发文,4200万粉丝的快手头部网红“周周珍可爱”在直播间大力推销所谓“新西兰8+MINUTES鱼子酱洗发水”,宣称是“新西兰小众高端品牌”,甚至搬出“新西兰小姐代言”作为背书,但其实是“抢注和冒充的”,该行为被被中国商标总局认定为商标侵权(品牌方说法)。
值得关注的是,由于范丞丞的加持,上述2款违法产品销量很好。弹动鱼子酱氨基酸洗发露6.0售价98元,销售273万单,小计约销售2.68亿元;8+minutes人参茶树纯露洗发水4.0售价98元,销售169.4万单,小计约销售1.66亿元,仅两款产品合计约销售4.34亿元。而这还只是弹动在抖音销售平台的一个店铺而已。
清扬君点评:
经清扬君快消品舆情分析中心调查发现,弹动品牌在各大电商平台及店铺普遍存在涉嫌违规经营行为,涉及产品远不止上述两款。鉴于篇幅限制,具体问题将另文披露。在此,我们郑重呼吁弹动品牌:与其耗费精力举报媒体监督报道,不如切实整改经营行为,以诚信态度对待消费者,这才是企业发展的正道。
针对此次事件,清扬君提出以下三点建议:
1、范丞丞粉丝群体应及时核实产品信息,收集相关证据依法维权;
2、范丞丞团队应即刻终止与涉事品牌的合作,以降低连带责任风险;
3、新西兰“8+minute”品牌方需全面排查弹动品牌产品线,对涉嫌侵权的“8+minutes”产品进行证据保全,并向相关责任主体,包括品牌商标持有人、生产商、销售商及“被动”代言的范丞丞,主张合法权益。
注1:本文图片来自药监局官网、抖音截图。
注2:本文为清扬君自媒体原创内容,未经授权严禁转载或抄袭,违者必究。转载合作请联系授权。

4001102288 欢迎批评指正
All Rights Reserved 新浪公司 版权所有
