作者 | 深水财经社 倪大九
最近一段时间,全国各地的村镇银行整合明显提速,江苏地区的动作尤为引人关注。
据深水财经社不完全统计,截至2025年末,江苏已有17家村镇银行被吸收合并,而承接方多以省内农商行为主。
作为全国农信社改制的“先行者”,张家港行(002839.SZ)也是不甘落后,即将迎来它的第一单“村改支”。
1月5日,张家港行公告称,公司将于1月21日召开2026年第一次临时股东会,审议关于吸收合并江苏东海张农商村镇银行(下称"东海村镇银行")并改建为分支机构的议案。
尽管还在等待股东会审议,但深水财经社认为,张家港行吸收合并东海村镇银行已经八九不离十。合并后,张家港行可实现对原村镇银行业务的统一管理,有效提升管理效率与风控能力。


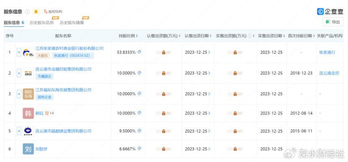
官网显示,东海村镇银行是由张家港行作为主发起,两家国有企业参股的连云港市首家新型农村金融机构,具有国资背景和一级法人资质,于2008年12月28日正式对外营业。
此次张家港行选择对自己发起成立的法人村行进行吸收合并,变成自己的直属支行,这种模式也是目前最为普遍的方式。
天眼查显示,东海村镇银行注册资本9547.2万人民币,控股股东张家港行占股53.8333%,连云港市金融控股占股10%。此外,东海村镇银行在本地还有两家分支机构。

值得注意的是,据连云港产交所1月5日发布的公众号推文,连云港市金融控股将其持有的东海村镇银行10%的股权公开挂牌转让,挂牌日期是2026年1月5日至1月30日。
深水财经社猜测也许和东海村镇银行即将被吸收合并有关。

而东海村镇银行在过去十年间的经营中,业绩表现并不理想,甚至三度陷入亏损困境。
据张家港农商银行年报披露,东海村镇银行2024年总资产为10.70亿元,净资产1.51亿元,全年实现营业收入4665.77万元,营业利润-2119.91万元,净利润-1563.75万元,这也是东海村镇银行近十年内第三次报告亏损。

对比之下,张家港行旗下另一家村镇银行表现稳健。截至2024年末,山东寿光张农商村镇银行总资产28.14亿元,实现净利润1097.22万元,虽曾在2020年亏损1720.10万元,但已恢复稳定盈利。
东海村镇银行的持续亏损,可能是张家港行选择将其吸收合并的直接推手。

随着监管层对村镇银行“减量提质”要求的明确,江苏多家农商行已陆续启动整合。
2024年12月,常熟银行率先获批吸收合并江苏丹徒蒙银村镇银行,2025年以来,该行又接连推进7家村镇银行的吸收合并,成为省内整合力度最大的机构之一。
苏农银行也紧随其后,2024年底完成对靖江润丰村镇银行的吸收合并后,2025年12月再议吸收合并张家港渝农商村镇银行。
江南农商行则启动对江苏启东珠江村镇银行、江苏溧水民丰村镇银行的吸收合并,将网点首次开到了省会南京。
随着张家港行“第一单”村改支的落地,江苏村镇银行的整合或将进入加速期。据统计,截至2025年末,江苏省村镇银行还有57家。

如果按照这个趋势,2026年度全省村镇银行的数量将进一步压缩,县域金融服务的集中度和专业性也将得到显著增强。
4001102288 欢迎批评指正
All Rights Reserved 新浪公司 版权所有
