瑞财经 吴文婷 继外卖之后,京东又要放大招?
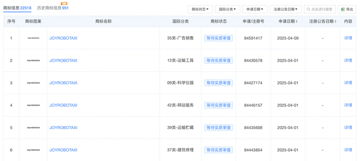
5月6日消息,据天眼查,京东集团旗下北京京东叁佰陆拾度电子商务有限公司(以下简称“京东叁佰陆拾度电子商务”)于近日申请注册多个“Joyrobotaxi”商标,国际分类包括广告销售、科学仪器、运输工具、运输贮藏等,当前商标状态均为等待实质审查。

业内人士指出,此举表明京东可能正在为自动驾驶出租车服务做准备。
据查阅,京东叁佰陆拾度电子商务成立于2007年4月4日,注册资本29.2亿元,法人代表为张奇,经营范围包括机械设备销售;五金产品零售;五金产品批发;建筑材料销售;电子产品销售等。
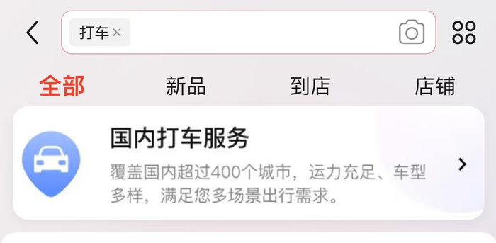
而在这之前,京东App曾上线了“国内打车服务”。 用户在主页搜索“打车”,页面便会出现“国内打车服务”的选项。
当用户进入“易企出行”小程序后,可选择国内实时、预约及接送机叫车服务,车型覆盖普通、舒适、商务、豪华,接入了包括曹操、飞嘀、阳光等网约车平台。

彼时,有分析认为,自动驾驶技术预计在未来三年内实现商业化,将推动网约车市场高速增长。京东此时进入网约车领域或是提前预判行业趋势、抢占未来风口的战略举措。
不过,目前“打车”入口已关闭。据媒体引述易企出行相关工作人员的说法,京东说是内部调整,会暂停一段时间,过一段时间还会重新上线。

相关公司:京东
4001102288 欢迎批评指正
Copyright © 1996-2019 SINA Corporation
All Rights Reserved 新浪公司 版权所有
All Rights Reserved 新浪公司 版权所有
