天下网商 王卓霖
编辑 李丹超
明星塌房的速度,让人始料不及。
9月11日,@平安北京通报,近期,北京警方在侦破一起违法犯罪案件中,将演员李某某(男,35岁)查获,该人对多次嫖娼的违法事实供认不讳,其已被依法予以行政拘留。据央视记者通过权威渠道了解到,李某某为李易峰。
其实早在9月10日,李易峰事件就开始发酵,有网友爆料相关细节。但在当晚,李易峰本人及工作室均发文澄清。目前,相关澄清声明、文章均已无法查看。

李易峰塌房后的12小时里,社交平台热议:
话题方面,微博话题#北京警方通报李易峰多次嫖娼#阅读量达42亿,#李易峰多次嫖娼被行政拘留#的阅读量26亿,两条热搜讨论次数超100万。
品牌商家方面,纷纷与“劣迹艺人”撇清关系。事件发生后,官宣与李易峰解除合作关系的品牌,有蒙牛真果粒、舒适达、京都念慈菴、HONMA高尔夫、普拉达(Prada)、鸭鸭羽绒服、人头马、康巴赫、六福珠宝等。同时,在百威金樽、猎聘APP、巴黎欧莱雅的官方微博上,已搜索不到“李易峰”。此外,李易峰本人恐将面临高额的违约赔偿。
近两年,明星塌房事件频发,粉丝错愕的同时痛心疾首,代言品牌和明星身后的经纪公司则更是苦恼。与此同时,虚拟偶像在中国发展出“新星”之势,以“青春不老、人品在线”的形象收获一批粉丝,开始成为真人明星的补充和代替。

“顶流小生”塌了
李易峰成名之路坎坷,但人气上涨很快。
1987年出生于四川成都的李易峰,2006年考上四川电影电视学院,20岁时参加综艺选秀节目《加油!好男儿》,拿下全国总决赛第三名,算是正式出道。但此后数年,他的事业一直不温不火:做歌手,歌不红;做演员,剧不红。
直到2014年与杨幂搭档出演古装剧《古剑奇谭》,该剧网络播放量突破50亿次。一夜之间,李易峰的粉丝暴涨,并因此剧获得国剧盛典内地最具人气男演员和最具商业价值男演员奖。之后,他又凭借《盗墓笔记》《青云志》《隐秘而伟大》等多部电视剧,被冠上“顶流小生”的称号。2016年,其还出演电影《老炮儿》,获得第33届大众电影百花奖最佳男配角奖。

跻身一线明星之后,李易峰迅速拿下十多个品牌代言,涵盖电子产品、食品饮料、美妆护肤、服装配饰等多个领域,还曾在同一时段拿下百事、乐事、康师傅三大代言。在2017年的福布斯中国名人排行榜,李易峰以年入1.7亿排名第四。
在外人看来星途一片灿烂的男明星,如今却被公安机关行政拘留,不禁让人唏嘘。
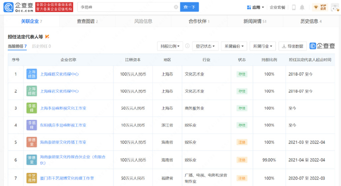
李易峰背后的商业版图也浮出水面。
据企查查,与李易峰相关联的企业有7家,其中4家为存续状态,包括上海峰岩文化传媒中心、上海峰路文化传媒中心、上海李易峰影视文化工作室、东阳横店李易峰影视工作室,都是由李易峰个人独资。

另有3家已注销,注销时间是今年3月、4月。其中,厦门市千艺晟博文化传媒工作室注销于3月15日,海南崇德里文化传播工作室、海南崇德里文化传媒合伙企业(有限合伙)于4月12日同一天注销。
值得一提的是,李易峰曾投资过欢瑞世纪,也就是一手捧红他的影视公司,但在2016年已退出。
品牌“踩雷”,迅速解约
事件发生后,品牌商家迅速与李易峰解除合作关系。
9月11日晚间,真果粒、京都念慈庵、舒适达、普拉达、鸭鸭羽绒服、人头马等品牌相继与李易峰解约。

“踩雷”品牌或许颇为无奈。真果粒已与李易峰合作多年,此次是最早宣布解约的品牌,这一举动获得网友称赞:“干得漂亮,要的就是这种速度。”
普拉达近年来在艺人合作方面多次“踩雷”。此前合作的韩国艺人朴灿烈和Irene双双翻车,之后的2021年1月,刚宣布中国艺人郑爽为品牌代言人之一,郑爽就被曝出天价片酬、偷逃税等问题,加上此次李易峰事件,普拉达已四连雷。
从郑爽“代孕”到邓伦涉嫌偷逃税,再到李易峰嫖娼,近年来明星“翻车”的消息接二连三。从以往劣迹艺人被曝光后的结局来看,李易峰大概率逃不过相同的命运:被品牌方抛弃、影视作品遭遇禁播等——个人道歉——退出网络和公众视野。
明星塌房之后,个人星途被毁、粉丝心理受伤,如果是“流量艺人”,那其代言品牌和背后的经纪公司更会遭受巨大声誉危机。
据《法治日报》,面对品牌方的解约,明星可能会面临赔偿问题:“品牌方与明星签订代言合同,通常是看中明星的优质社会形象和社会评价,一旦明星的社会形象坍塌必然会对品牌方的商业利益造成影响,导致合同目的不能实现。”
影响的还有自家公司。据公开信息,2019年4月15日李易峰加盟北京博众星和影视有限公司,而该公司法人代表为他的经纪人。这次事件之后,公司恐将尽快做出调整,减少对其他艺人和公司本身的影响。
虚拟偶像又稳了?
面对高昂的代言费和真人明星的不可控风险,越来越多品牌和经纪公司将目光投向虚拟偶像。
一方面,在品牌们看来,虚拟偶像人设保持更为稳定,试错成本更低。以读书郎为例,在与王力宏解约之后,不到5小时,其官宣了全新代言人AI小郎。
另一方面,于经纪公司而言,当下偶像迭代速度加快,传统模式的经纪公司培育艺人的流程和方式,已无法很好地满足消费者的需求。为了达成艺人与公司的平衡关系,减少真人明星存在的潜在风险,一些经纪公司也将目光投向虚拟偶像。
从两年前开始,乐华娱乐布局虚拟偶像。首个女团A-SOUL以积极向上的人设出道,由向晚(Ava)、贝拉(Bella)、珈乐(Carol)、嘉然(Diana)、乃琳(Eileen)五人组成,发行过单曲,也做过线上直播。

数据显示,2022年前4个月,王一博一人营收就占据乐华56.8%,外界常有调侃“乐华靠艺人经纪,艺人经纪靠王一博”。此前乐华娱乐旗下多位艺人曾被曝出负面信息,甚至被网友称呼为“塌房公司”。
眼下积极布局虚拟偶像,或许是乐华想要破题的一招。目前看来,2021年,A-SOUL给乐华带来近400万营收,虽然营收贡献和王一博比还相去甚远,但其毛利率高达77.7%。去年12月,乐华娱乐又宣布旗下首个虚拟男团“量子少年”出道。
据《2021中国虚拟偶像消费市场调研报告》显示,有62.31%的消费者有可能为虚拟偶像代言的产品买单,还有9.78%的消费者选择肯定会买单。另据西南证券数据,预计到2023年,中国虚拟偶像核心产业规模将超200亿。
但虚拟偶像也有风险,A-SOUL此前就因“中之人”问题引起风波。只能说,相比真人塌房,虚拟偶像的风险略小一些。
虚拟偶像的发展、粉丝对于美好人设的追求,也在提醒真人明星应当加强自我管理、提升业务能力,这一步,是后续所有发展的基础。
4001102288 欢迎批评指正
All Rights Reserved 新浪公司 版权所有
