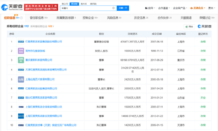
车建兴名下关联100余企业,包括红星美凯龙控股集团有限公司、常州市红星装饰城、重庆星凯科家居有限公司等
投资时间网、标点财经快讯
据媒体报道,美凯龙(601828.SH)公告称,公司接到董事兼总经理车建兴先生家属的通知,于近日收到云南省监察委员会电话通知,对车建兴先生立案调查并实施留置措施。目前,公司未收到书面的《留置通知书》《立案通知书》,也未被要求协助调查或提供资料。截至公告日,公司其他董事、监事和高级管理人员正常履职,组织架构与内部控制机制完善,董事会运作正常,控制权未变。为保障公司日常经营,在此期间由董事长李玉鹏代行总经理全部职责。
天眼查App显示,车建兴名下关联100余企业,其中60余家企业处于存续状态,包括红星美凯龙控股集团有限公司、常州市红星装饰城、重庆星凯科家居有限公司等,车建兴在上述企业中担任执行董事、董事长、总经理等职务。此外,车建兴名下40余家企业已被吊销或注销。
天眼查信息:https://www.tianyancha.com/human/2197610627-c1857151
投时关键词:红星美凯龙(601828.SH,1528.HK)

4001102288 欢迎批评指正
Copyright © 1996-2019 SINA Corporation
All Rights Reserved 新浪公司 版权所有
All Rights Reserved 新浪公司 版权所有
