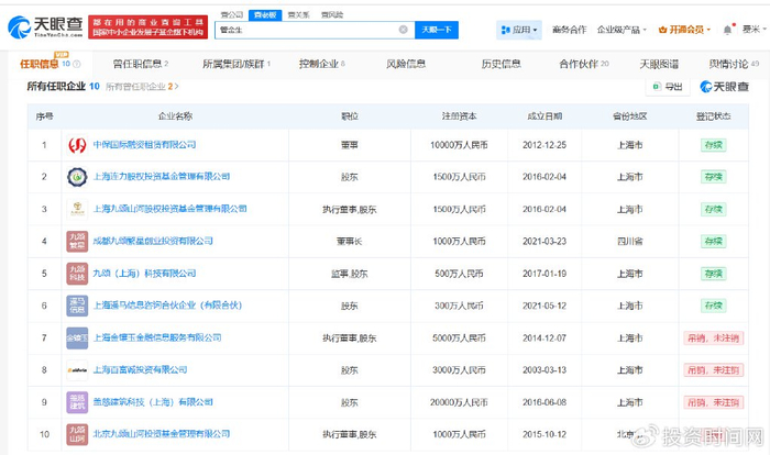
管金生名下关联10家企业,其中6家企业处于存续状态
投资时间网、标点财经快讯
据媒体报道,10月9日晚间11点,九颂基金发布公告,公司近日收到公司实际控制人、执行董事管金生先生家属的通知,管金生先生因突发疾病抢救无效,不幸于2025年10月7日与世长辞。
天眼查App显示,管金生名下关联10家企业,其中6家企业处于存续状态,包括中保国际融资租赁有限公司、上海九颂山河股权投资基金管理有限公司、成都九颂繁星创业投资有限公司等,管金生在上述公司担任董事或者执行董事等职务。

4001102288 欢迎批评指正
Copyright © 1996-2019 SINA Corporation
All Rights Reserved 新浪公司 版权所有
All Rights Reserved 新浪公司 版权所有
