10月21日,张雪峰发微博称:“我宁可成为中国知识产权界的一个标志性的反面案例,我也不会让抢注商标的坏人得逞,拿到一分钱!除非你承诺,把这个钱捐出去!”随后,张雪峰在微博评论区表示:“有抢注商标的人,抢注我的商标,找律师开价100万,让我买!”
企查查APP显示,张子彪(张雪峰)名下的苏州研途教育科技有限公司曾于2017年申请注册多枚“张雪峰”商标,国际分类涉及广告销售、教育娱乐等,当前商标状态均为已注册。该公司还申请注册了两枚“研途张雪峰”商标,当前商标均处于无效状态。
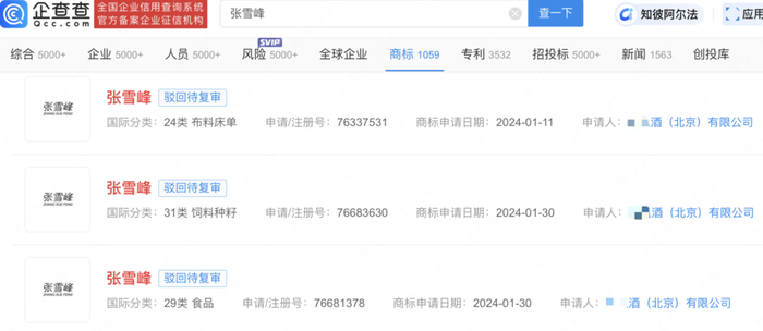
此外,自然人张某某和北京某酒公司等曾申请注册“张雪峰”商标,国际分类涉及餐饮住宿、食品等,除自然人张某某申请的“张雪峰”商标已成功注册,其余申请多已被驳回。



(企查查)
4001102288 欢迎批评指正
Copyright © 1996-2019 SINA Corporation
All Rights Reserved 新浪公司 版权所有
All Rights Reserved 新浪公司 版权所有