本文原标题:《东方红资管陷信任危机:规模利润双降,三年持有期产品争议凸显 | 基金观察》


作为曾被誉为“价值投资标杆”的券商资管机构,东方红资产管理有限公司(下称“东方红资管”)正遭遇前所未有的发展困境。管理规模大幅缩水、净利润断崖式下滑、核心投研人才流失、三年持有期产品业绩承压,多重因素叠加下,这家老牌资管机构的信任根基面临严峻考验。

新基热销与老基亏损形成反差
2025年上半年,东方红资管新基金发行呈现短暂热度。新任负责人成飞上任月余,公司两只产品表现亮眼:东方红核心价值混合基金顺利募满20亿元,成为浮动费率基金中的代表性产品;东方红盈丰稳健配置FOF募集规模达65.73亿元,刷新2025年年内同类产品发行纪录。
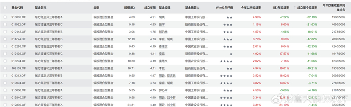
但新发市场的“热闹”,难以掩盖存量产品的业绩颓势。Wind数据显示,截至2025年末,东方红资管旗下13只成立满四年的三年持有期产品未实现正收益。其中,东方红启兴三年持有A累计亏损幅度达32%,即便经历2025年市场上涨行情,仍有数只产品亏损幅度超10%(数据截至2026年1月9日)。

(东方红多只三年持有期产品至今仍存在大额亏损。数据来源:Wind,截至2026年1月9日。)
这种“新发火热、存量低迷”的割裂态势,折射出东方红资管的尴尬处境:品牌惯性仍在吸引资金,但核心投资能力不足导致存量客户信任受损。

规模利润“双杀”
公开数据显示,东方红资管的衰退并非短期周期波动,而是呈现结构性特征。作为业内首家获得公募牌照的券商资管,东方红资管曾“风光无两”——2017年在偏股主动型基金TOP10榜单中占据6席,2021年管理规模攀升至近2700亿元的峰值,行业排名稳居前20位。
巅峰之后,其规模持续萎缩。截至2025年末,东方红资管管理规模降至约2073亿元,较峰值蒸发近600亿元,行业排名滑落至40位左右(数据截至2025年12月31日,来源:Wind)。

(东方红的管理规模自2021年见顶以来一直下降,近期略有回升。数据来源:Wind,截至2025年12月31日。)
盈利能力的下滑更为显著。财报数据显示,2021年东方红资管净利润为14.38亿元,至2024年已暴跌至3.33亿元,降幅超76%,创下2016年以来的最低水平(数据截至2025年12月31日,来源:Wind)。营收与利润的双重下滑,将直接压缩公司在投研投入、人才激励等关键领域的资源空间。

(东方红的净利润一路下跌到自2016年以来的最低水平。数据来源:Wind,截至2025年12月31日。)

三年持有期产品引争议
三年持有期产品本是监管鼓励的创新品类,初衷为通过强制锁仓帮助投资者克服短期投机心理,践行长期投资理念。但东方红资管的此类产品,却因发行时机与业绩表现引发市场争议。
梳理其产品布局可见,旗下多只业绩不佳的三年持有期产品集中成立于2021年。彼时沪深300指数处于5900点的历史高位区间,市场情绪亢奋。作为标榜“价值投资”的专业机构,东方红资管在市场估值高位阶段,大规模发行锁定流动性的三年持有期权益类产品。
从商业逻辑看,此类产品可锁定管理费收入(无论业绩涨跌均按规模计提);但从受托责任角度,高位发行并锁定流动性,相当于将投资者置于“高位站岗”的被动局面,且阻断了其及时止损的路径。Wind数据显示,这批2021年高位发行的产品,多数至今仍处于大幅亏损状态(截至2026年1月9日)。

(东方红在2021年股市高点密集成立了一批三年持有期的权益类产品,其中不少成立至今仍在大幅亏损。数据来源:Wind,截至2026年1月9日。)
即便在2025年市场上涨行情中,部分产品表现仍跑输基准。以其规模最大的权益类产品东方红启恒三年持有B为例,天天基金数据显示,截至2026年1月9日,该产品近3个月收益为-4.51%,同期沪深300指数涨幅为1.05%;近3年累计回报仅9.50%,显著低于沪深300指数18.58%的同期表现。

(东方红权益代表作东方红启恒三年持有B的业绩惨不忍睹。数据来源:天天基金,截至2026年1月9日。)

核心投研人才流失
投资风格漂移加剧业绩波动
资管行业的核心竞争力源于投研团队,东方红资管的衰退,与核心人才的持续流失密切相关。曾几何时,东方红资管拥有王国斌、陈光明、任莉组成的“铁三角”,叠加林鹏等明星基金经理,构建了统一且鲜明的价值投资投研体系,成为行业标杆。
近年来,一场持续数年的离职潮抽空了公司核心投研力量:陈光明离职创立睿远基金,带走固收“大将”饶刚、杨达治;王国斌与任莉携手创办泉果基金,挖走刚登峰、钱思佳、孙伟等中生代中坚;林鹏则奔私创立和谐汇一。目前,东方红资管仅剩周云等老臣坚守。

(一手创立东方红的王国斌日前不幸离世。数据来源:泉果基金,截至2026年1月9日。)
人才断层直接导致投资风格变形。为填补人才空缺,东方红资管引入外部投研力量,但部分基金经理的持仓风格呈现大幅漂移。以从广发基金引进的苗宇为例,天天基金数据显示,其管理产品的持仓从2023年三季度集中持有茅台、五粮液、泸州老窖等白酒股,到2025年一季度全面切换至腾讯、阿里、美团等港股互联网标的,2025年三季度又转向新易盛、中际旭创等光模块企业,赛道切换频繁,与东方红资管传统的“深度价值”投资风格相去甚远。



(苗宇的持仓风格持续大幅度漂移,切换频繁。数据来源:天天基金,截至2026年1月9日。)
对于新任负责人成飞而言,新基金发行的“开门红”仅能暂时缓解压力,东方红资管要实现真正复苏,仍需破解多重难题。如何改善十余只亏损三年持有期产品的业绩、回应被套牢投资者的诉求,如何在明星团队流失后重建不依赖个人的投研体系,如何重拾“价值投资”初心、重塑市场信任,成为摆在公司面前的核心课题。(李孟鹏 特约撰稿人 石省昌)
本文来源:中国能源网
https://www.cnenergynews.cn/article/4Q1PzFikCmI
(市场有风险,投资需谨慎!本文不作为投资参考指导,读者需要对自己的投资负责!)
4001102288 欢迎批评指正
All Rights Reserved 新浪公司 版权所有
