最近比较火的董小姐4+4事件,又一次把北京协和医院推上了“热搜”。
事件不做评论,但从考研角度来看,北京协和医院确实一直是医学类,尤其是临床医学类专业的头部院校。
在这之前,中国大学排行榜(CNUR)网站正式发布了2025年ABC中国大学临床医学学科排名,共57所院校上榜。
我们来看看,除了北京协和外,还有哪些医院榜上有名。
ABC中国大学临床医学学科排名
本次报告显示,A类院校共14所,其中评级为A++等级共3所。
A++等级(前3%):上海交通大学、北京协和医学院以及复旦大学
A+等级(前7%):北京大学、中山大学、浙江大学、华中科技大学以及首都医科大学
A等级(前12%):四川大学、中南大学、空军军医大学、山东大学、南京医科大学以及南方医科大学
B++等级(前20%):哈尔滨医科大学、天津医科大学、中国医科大学、重庆医科大学、海军军医大学、陆军军医大学、同济大学、武汉大学以及吉林大学等
在上榜的院校中,中南大学属于第三来A等级(前12%),排名在四川大学之后。
中南大学是中国最早的西医医学院之一(1914年建校),素有“北协和、南湘雅”之称。
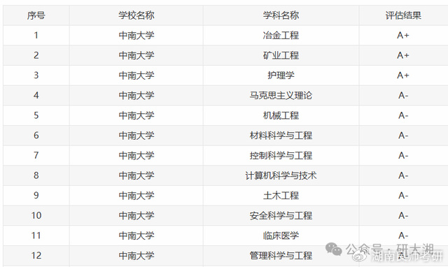
在第四轮学科评估结果中,中南大学护理学和临床医学评为A+和A-。

直属附属医院均为三甲医院:
湘雅医院(全国综合排名第6,复旦版《中国医院排行榜》)
湘雅二医院(精神医学全国第1)
湘雅三医院(器官移植顶尖)


4001102288 欢迎批评指正
Copyright © 1996-2019 SINA Corporation
All Rights Reserved 新浪公司 版权所有
All Rights Reserved 新浪公司 版权所有
