苹果申请新专利:与可折叠屏幕有关
新浪科技新浪科技讯 北京时间8月3日下午消息,根据美国专利商标局周四披露的资料显示,苹果申请一项新专利,这项专利与电子设备折叠覆盖层和折叠屏幕层有关,这就暗示苹果未来推出的设备会有可折叠屏幕。
专利资料详细描述了屏幕层和覆盖层的使用方法,根据变化形式、透明基底和填充材料的不同而不同。按照苹果的设计,折叠屏幕可以用在智能手机和平板上,配有机械铰链,但是它的应用范围不只如此。
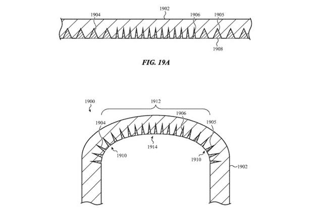
在基本形态下,设计由覆盖层和屏幕层组成,覆盖层与屏幕层叠在一起,覆盖层上有折叠区域,里面有陶瓷材料,它们共同组成电子设备的外表面。沿着折叠区域弯曲覆盖层,就可以让屏幕层和覆盖层在折叠、非折叠之间转换。当屏幕折叠时,折叠区域需要承受较大的压力。
文件称,按照这样的设计可以制造出能够用多种方式折叠的超薄屏幕,比如像书一样从中间折叠,或者像小册子一样折叠,只露出三分之一的屏幕,其它部分隐藏,甚至可以让屏幕卷起来。

为了化解弯曲时生成的挤压压力,可以将部分凹槽中的物质剔除,换上透明填充物,填充物能够确保表面平坦。弯曲时如果出现挤压和拉伸,屏幕会在较薄的地方弯曲,此时耐压材料会为屏幕较薄的部分提供支撑。
覆盖层对填充材料的依赖没有那么强,它也会受到折叠压力的影响,还能决定折叠的位置。例如,覆盖层可以由多块面板组成,折叠时面板漂移,这样一来在间隔处折叠就会更容易一些,制造商可以选择最理想的位置让屏幕折叠,设计更自由。

苹果早就在研究折叠概念屏幕,7月份,一份专利文件显示苹果似乎想用柔性材料对抗屏幕压力。2017年10月苹果申请一项专利,当时还有传闻说苹果考虑与LG合作,在2020年之前生产柔性屏OLED iPhone手机,二者刚好吻合。2016年11月,苹果获得一份专利,文件暗示苹果想用铰链、金属壳柔性OLED面板制造折叠智能手机,当手机不使用时可以夹在衣服上。
不只如此,苹果还投入巨资研究MicroLED技术,这种屏幕技术将微型LED组成屏幕,也许可以用来制造柔性屏。(德克)