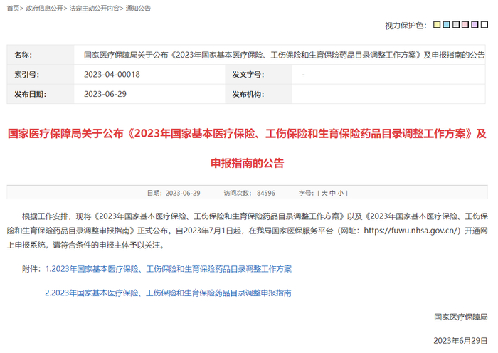
6月30日,国家医保局发布了2023年度医保谈判调整方案正式文件。文件内容与征求意见稿基本无差,7月1日正式开始申报,争取在11月完成谈判并公布结果。
截图来自:医保局官网获批上市新药的医保准入,历来是每年业内关注重点。拥有资格参与申报的新药获批时间截止在今日,因此每年 6 月末也常常迎来一波新药获批的「爆发期」。
拿近日来说,6 月 28 日晚 NMPA 官宣批准 3 款重磅新药,涉及恒瑞、齐鲁;6 月 30 日晚又刚刚官宣批准 3 款,翰森、信达、特宝生物拿到入场券;再鼎也刚刚公布了 FcRn 单抗皮下注射剂获批的好消息。加之批件发布,不止这 6 款踩着 DDL 冲线成功。
本文选取部分品种小做盘点。

恒瑞医药:2023 国谈重磅参与者
恒瑞的降糖药瑞格列汀(商品名:瑞泽唐)和抗真菌药奥特康唑(SHR8008)在 6 月 28 日同时踩线获批。不仅如此,CDK4/6 抑制剂达尔西利在 6 月 26 日也获批了一线适应症,这些新药都有望参与今年的医保角逐。
加之今年 2 月 28 日获批的阿得贝利单抗、1 月获批新适应症的卡瑞利珠单抗、4 月获批新适应症的吡咯替尼…可以说,2023 医保谈判中恒瑞将继续成为大家的目光焦点。
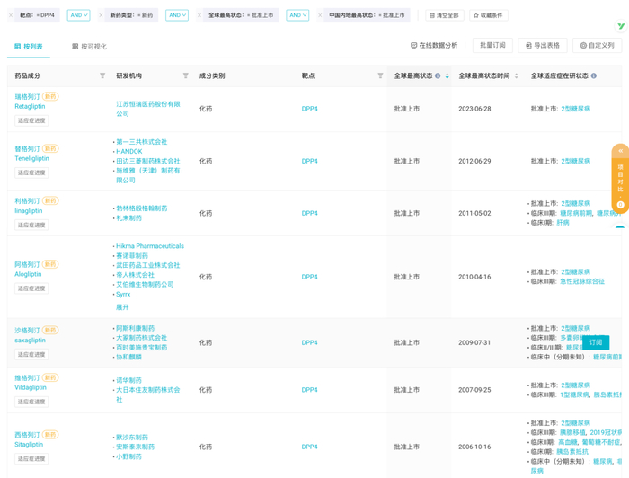
瑞格列汀是恒瑞自主研发的一款 DPP-4 抑制剂,通过抑制 DPP-4 的活性达到降血糖的作用。截至获批之时,相关项目累计已投入研发费用约 1.8903 亿元。
据 Insight 数据库显示,当前全球共有 13 款 DPP-4 抑制剂新药获批上市(不含复方制剂),2022 年全球销售额约 65.58 亿美元。在国内也有 7 款获批上市,但国产新药仅恒瑞一款。
国内获批上市 DPP-4 抑制剂
截图来自:Insight 数据库网页版虽然仿制药、集采等因素导致 DPP-4 靶点竞争格局不算轻松,但恒瑞当前还布局了瑞格列汀复方制剂,今年 1 月递交磷酸瑞格列汀/二甲双胍复方的上市申请并获 CDE 受理(受理号:CXHS2300011/2);另有恒格列净、瑞格列汀和二甲双胍的固定剂量复方缓释制剂(HR 20031)也已经完成 2 项 I 期临床。复方制剂的布局有望注入更强竞争力,强化管线协同。
恒瑞瑞格列汀及复方制剂布局
截图来自:Insight 数据库网页版奥特康唑是恒瑞推向上市的第 2 个交易引进创新药。这是一款用于治疗重度外阴阴道假丝酵母菌病(VVC)的新型口服四氮唑结构抗真菌药物,可高度特异性抑制真菌 CYP51 酶。该药的大中华区独家权益在 2019 年以超 1 亿美元的研发付款和里程碑付款从 Mycovia 公司引进。
SHR8008 医药交易
截图来自:Insight 数据库网页版不仅代表着恒瑞引进产品的商业化里程碑,奥特康唑也是恒瑞布局抗感染治疗领域迎来的首个上市 1 类创新药产品。在感染疾病领域,恒瑞医药近年来持续探索,除奥特康唑之外,还有 4 款产品在慢性乙肝、尿路感染、念珠菌血症或侵袭性念珠菌病等开展临床研究,不断拓宽创新边界。
奥特康唑于 2020 年 5 月首次在国内获批临床,2021 年 1 月首次启动临床,去年 1 月在国内报上市。上市批准基于 III 期临床研究 SHR8008-302(登记号:CTR20210733),研究结果表明,奥特康唑治疗重度 VVC 的疗效显著优于现有标准治疗药物,且整体安全性良好。这项适应症在海外于 2022 年 4 月获 FDA 批准。
奥特康唑全球项目开发进度甘特图

CDK4/6 抑制剂「达尔西利」(研发代号:SHR6390)由恒瑞自主研发,2021 年底获批上市,是首款获批的国产 CDK4/6 抑制剂;除去不走寻常路以注射剂形式布局非乳腺癌适应症的曲拉西利之外,达尔西利也是当前国产 CDK4/6 抑制剂中获批的唯一一款。
达尔西利的首批适应症为 HR 阳性、HER2 阴性局部晚期或转移性乳腺癌二线治疗,2022 年医保谈判中已经成功进入。本次紧追获批的是一线适应症,线数的前移,使达尔西利的市场覆盖范围拥有了扩充更广的潜力。
虽然 CDK4/6 当前有哌柏西利(辉瑞)、阿贝西利(礼来)、利柏西利(诺华)这三大产品,哌柏西利也有数款仿制药获批上市,嘉和生物的来罗西利也在上市申请中,以至于国内这一市场脱颖而出并非易事。
但恒瑞的达尔西利作为当前唯一获批上市的国产 CDK4/6 抑制剂,本身具备国产优势,进度相较其他此类药物而言也遥遥领先,在其他国产药未获批之时就已经二线一线双双突破,辅助治疗 III 期关键临床在 2021 年 3 月就已经启动,向前线持续推进。这将使达尔西利充分发挥先发优势,构筑更强的竞争力。
据 Insight 数据库显示,该药最早的临床申请起始于 2014 年,历时 7 年开发,2021 年 4 月成功递交了二线疗法上市申请,仅 8 个月就获 NMPA 批准;一线疗法适应症则在 2022 年 10 月 20 日获受理,如今获批上市,审评历时也在 8 个月左右。
CDK4/6 抑制剂自从上市以来,已经赢得了巨大成功,仅看全球三大主要玩家,2022 年合并销售额就超 88 亿美元之多。尽管最早上市的哌柏西利在竞品夹击下已经开始出现小幅下滑,整体市场盘子也仍在持续拓展。
三大 CDK4/6 抑制剂近 3 年全球销售额

数据来自 Insight 数据库年报销售数据CDK4/6 抑制剂的临床布局思路均是从二线起步,再拓展至一线及辅助疗法。当前全球 CDK4/6 抑制剂市场正由哌柏西利(辉瑞)、阿贝西利(礼来)和利柏西利(诺华)三分天下,尤以最先上市的哌柏西利为魁首。而下一波竞争整则围绕一线疗法、辅助疗法全面展开。
一线疗法方面,随着去年 ESMO 年会中礼来发布 MONARCH 3 研究 OS 结果,三大 CDK4/6 抑制剂一线疗法生存期数据已经尽数出炉,同时据 Insight 数据库,这些一线适应症也都在中国获得了监管批准。不过,三者在国内的获批适应症仍存在差异性:礼来从二线贯穿到辅助治疗均获批准;诺华覆盖绝经前、围绝经期和绝经后全阶段;辉瑞在胶囊之外还获批了片剂剂型。
恒瑞本月刚刚获批的一线适应症,基于注册 III 期临床 DAWNA-2 研究(ClinicalTrials.gov 登记号:NCT03966898),与礼来同样在去年 ESMO 年会中以 LBA 类型公布。
3 项一线适应症 OS 结果
截图来自:Insight 数据库网页版
贝达药业:创新药商业化,收获季来了
6 月 8 日获批的伏罗尼布是贝达获批上市的第 4 款 1 类新药。继 5 月 31 日贝福替尼(商品名:赛美纳)获批上市之后,贝达在仅一星期之后就迎来「双喜临门」了,也为未来业绩提供了更多支撑点。
贝福替尼属于三代 EGFR-TKI,在埃克替尼和恩沙替尼两大王牌产品之上为 NSCLC 管线提供了关键补充;伏罗尼布则为多靶点受体酪氨酸激酶抑制剂,通过抑制新生血管形成发挥抗肿瘤作用,用于治疗晚期肾细胞癌。
贝福替尼(BPI-D0316)是贝达药业与益方生物合作开发的项目。2018 年 12 月,贝达以共计 2.3 亿美元的首付款+里程碑付款获得了这款三代 EGFR 抑制剂的中国权益(包括港澳台)。
贝福替尼权益流转
截图来自:Insight 数据库网页版该药首批适应症为既往经 EGFR-TKI 治疗出现疾病进展,且伴随 EGFR T790M 突变阳性的局部晚期或转移性 NSCLC。而贝达在二线、一线、辅助上也进行了全面布局,一线适应症当前也处于 NDA 审评过程中。
一线治疗适应症的上市申请基于一项随机、对照、多中心、开放性的 II/III 期 IBIO-103 研究(登记号:NCT04206072),在既往未接受过系统治疗的 EGFR 敏感突变阳性的局部晚期或转移性 NSCLC 患者中,评价贝福替尼(75→100 mg)对比埃克替尼(125 mg)的有效性和安全性。
研究共纳入 362 名患者,按 1:1 随机化分组到贝福替尼组或埃克替尼组。结果显示,贝福替尼组和埃克替尼组 IRC 评估的中位 PFS 分别为 22.1 个月和 13.8 个月(HR=0.49, p
此外,在今年 2 月,贝达药业启动了针对 NSCLC 辅助疗法的 III 期临床研究,用于 EGFR 敏感突变阳性的 IB-IIIB(T3N2M0)期非小细胞肺癌术后辅助治疗(登记号:CTR20230429)。这是一项多中心、随机、双盲、双模拟的 III 期临床研究(登记号:CTR20230429),研究设计与贝达药业自主研发的首个国产第一代 EGFR 抑制剂埃克替尼对照。
伏罗尼布(代号:CM082/X82)最早在 2011 年 2 月由 Tyrogenex 公司在海外启动首项临床,同年 5 月卡南吉医药在中国首次申请临床,中国地区的临床试验在 2012 年首次启动。不仅肿瘤适应症,该药眼科领域也在持续开发中。
「伏罗尼布」全球新药项目时光轴
截图来自:Insight 数据库网页版目前,伏罗尼布在国内登记启动了 15 项临床试验。肿瘤适应症的布局上,除肾癌外还包括还包括胃癌、急性髓系白血病、小细胞肺癌、非小细胞肺癌、黏膜黑色素瘤,后 3 者联用 PD-1 特瑞普利单抗。此外,还开发了眼科适应症如湿性年龄相关性黄斑变性(w-AMD)、脉络膜新生血管(mCNV)。
贝达药业通过控股子公司 Equinox 拥有伏罗尼布眼科适应症的海外权益,通过控股子公司 Xcovery Holdings, Inc. 拥有伏罗尼布肿瘤适应症的海外权益,通过全资子公司卡南吉医药科技(上海)有限公司拥有伏罗尼布全部适应症的中国权益。
2020 年 2 月 3 日,贝达子公司 Equinox Science 还与 EyePoint Pharmaceuticals 达成合作,以 100 万美元预付款+未披露金额里程碑付款授权 EyePoint 利用其独有的 Durasert 技术开发伏罗尼布为眼科疗法产品 EYP-1901。EYP-1901 将伏罗尼布和 EyePoint 公司的 Durasert™ 技术相结合,形成一种新的治疗方案。Durasert™ 技术是一种可注射的、缓释的、可生物分解的玻璃体内给药系统,有效期可达 6 个月之久。
项目权益流转详情
截图来自:Insight 数据库网页版
细胞疗法今年是否有望参加国谈?
阿基仑赛踩线批新适应症,
伊基奥仑赛刚刚获批
6 月 26 日,NMPA 批件显示,复星凯特 CD19 靶向 CAR-T 疗法「阿基仑赛」新适应症获批上市,用于一线免疫化疗无效或在一线免疫化疗后 12 个月内复发的成人大 B 细胞淋巴瘤(r/r LBCL)。
无独有偶,今晚,NMPA 也官宣批准驯鹿生物与信达生物合作开发的 BCMA 靶向 CAR-T 疗法「伊基奥仑赛」上市,用于治疗多发性骨髓瘤。
两款 CAR-T 疗法,由此踩线进入了今年符合国谈申报条件的时间范围之内。
阿基仑赛注射液是复星凯特 2017 年初从美国 Kite(吉利德旗下公司)引进 Yescarta (axicabtagene ciloleucel) 在中国进行技术转移,并获授权在中国进行本地化生产的靶向人 CD19 自体 CAR-T 细胞治疗产品。从全球角度来看,阿基仑赛目前已经获批 3 项适应症;而在本次获批之后,在中国,阿基仑赛也已经有了两项适应症获批。
Yescarta 美国获批适应症
截图来自:Insight 数据库网页版在国内,阿基仑赛最初于 2021 年 6 月获批上市,用于治疗既往接受二线或以上系统性治疗后复发或难治性大B细胞淋巴瘤成人患者,成为国内首款获批的 CAR-T 疗法,开启了国内细胞治疗元年。虽然在当年的医保谈判中由于成本原因未能进入,但每年国谈之时,CAR-T 疗法基于其突出的疗效,都会成为业内行外关注的热点。
新获批的上市申请最早在 2022 年 10 月 14 日被 CDE 纳入优先审评审批,同月 25 日受理,到如今获批,仅历时 8 个月。
从最初的三线适应症,到如今二线适应症的获批,使阿基仑赛的适应症覆盖范围正在不断扩大。即便今年也未能实现医保支付,商保覆盖和适应症拓展也将帮助阿基仑赛继续释放市场潜力。
驯鹿生物和信达生物合作的伊基奥仑赛,其获批也是国内 CAR-T 疗法的一个里程碑。在今晚获批之后,成为了国内首款靶向 BCMA 的 CAR-T 疗法。
在此之后,紧随者还有科济药业的泽沃基奥仑赛,和传奇生物的西达基奥仑赛。前者在 2022 年 10 月报产、后者在 2022 年 12 月报产。
不过,在今年医保目录调整工作方案的解读时,医保局再次强调了「保基本」的定位,或许细胞疗法在进入医保之前,还有一段路要走。
截图来自:医保局官网
第 2 款国产 ALK 抑制剂:
齐鲁制药「伊鲁阿克」
伊鲁阿克是恩沙替尼之后第 2 款获批的国产 ALK 抑制剂,同时,也是齐鲁制药首款获批上市的 1 类新药,具有里程碑意义。
6 月 28 日,NMPA 发布公告宣布伊鲁阿克获批上市,这意味着该药也成功得到今年医保目录申报的「入场券」。
伊鲁阿克(商品名:启欣可)是一款新型 ALK/ROS1 抑制剂,可抑制不同融合类型的野生型以及 ALK 抑制剂耐药突变的 ALK 激酶活性,同时可有效抑制不同融合类型 ROS1 激酶的活性。本次获批适应症为:既往接受过克唑替尼治疗后疾病进展或对克唑替尼不耐受的 ALK 阳性的局部晚期或转移性 NSCLC。
Insight 数据库显示,伊鲁阿克在 2016 年首次递交临床申请,2017 年首次在国内公示启动临床,2021 年 7 月首次申报上市,审评历时 23 个月。
伊鲁阿克全球项目开发进度概览
截图来自:Insight 数据库网页版今年2月,伊鲁阿克治疗克唑替尼耐药的 ALK 阳性 NSCLC 患者的 II 期临床 INTELLECT 研究全文发表在 BMC Medicine 杂志上。
基于独立评审委员会(IRC)的评估,伊鲁阿克客观缓解率(ORR)为 69.9%,疾病控制率为 96.6%,中位 PFS 为 19.8 个月。总生存期(OS)正在进一步观察中,初步数据显示,1 年 OS 率为 85.2%,2 年 OS 率为 57.9%。在基线脑转移患者中,使用伊鲁阿克治疗的颅内缓解率为 64%。
目前,伊鲁阿克对比克唑替尼一线治疗 ALK 阳性 NSCLC 的 III 期临床研究已经完成中期分析,以大规模的临床试验证明伊鲁阿克对 ALK 阳性 NSCLC 患者的一线治疗相比克唑替尼有显著优势,并于 2023 年 4 月递交新药上市申请并获得受理。研究数据将在 2023 世界肺癌大会(WCLC)上首次公布。
Insight 数据库显示,当前同靶点有 5 款进口药和 2 款国产药获批上市:阿来替尼(罗氏)、布格替尼(武田)、洛拉替尼(辉瑞)、克唑替尼(辉瑞)、塞瑞替尼(诺华)、恩沙替尼(贝达)、伊鲁阿克(齐鲁)。此外,正大天晴的依奉阿克和 Unecritinib 也在上市申请中。
4001102288 欢迎批评指正
All Rights Reserved 新浪公司 版权所有
